当前位置 鱼摆摆网 > 教程 > 淘宝开店 > 网店干货 >
淘宝直通车运营怎么做数据诊断,需要注意哪些地方
作者:方先生 2019-02-16 10:43
文章来源:万堂书院:青丝竹玉
账户诊断可以从多方面的数据来诊断我们的店铺在实际运营过程中出现的问题.今天就重点通过直通车的报表来进行账户的诊断数据分析.
1. 账户整体数据
我们通过直通车后台-报表-直通车报表首先可以看到我们账户的整体情况,在右侧可以选择时间段进行分析.可以了解到我们这段时间花了多少钱?引入了多少流量?点击率是多少?投入产出比是多少?总的购物车和总的收藏数等等.这些数据都是我们平常在直通车推广过程中非常重要的数据.
1.1 投入产出比
首先我们来分析诊断投入产出比的这个数据,因为这个数据是决定着你的直通车到底是盈利还是亏损状态的一个数据.大家也会纠结一个问题,就是我的投入产出比到底达到多少才是合适的?比如下面这个账户的数据,他的投入产出比的数据是3.24,这个数据到底是好还是不好.接下来我们就来分析一下,首先我们的直通车是一个付费流量工具,这个工具当然不能保证每个人都能实现盈利,但自己心里要清楚一个平衡点在哪里是最合适的.这个平衡点我们可以用我们的毛利率来计算.比如下图这个账户的大部分产品的毛利是50%左右,
投入产出比的平衡点公式=1/毛利率=1/50%=2
也就是我们的盈亏平衡点是2,那么目前下面的报表数据显示投入产出比是高于2的.这说明了我们的直通车账户并不亏,在这种情况下我们可以按照自己的预算放心的投放直通车推广.如果投入产出比低于盈亏平衡点.那么我们就需要再做进一步的调整.还需要根据自己的目的来进行调整和优化.
2.1 时间趋势图和数据占比图
通过时间趋势图我们可以看到,当我们的流量在加大的时候,投入产出比有可能反而会往下滑,这在很多店铺里面会出现这样的情况,因为我们需要大流量时投入产出比的数据可能没有以前好,但店铺总体的销售额可能会增加.所以看到这样的趋势不用过于担心.要结合整体数据来观察.
通过数据占比图可以发现,账户的批量推广功能效果非常好.因此我们接下来进行优化的方向可以把批量推广功能重点利用起来.让直通车推广的效果越来越好.
2. 推广计划诊断
2.1流量来源
推广计划的流量来源渠道选项,我们可以清楚的知道计划的流量来源,通过数据我们可以发现在现有的这个计划里面,站外跟站内都有非常多流量,站外流量虽然投产比低了一点,但是胜在它的平均点击费用很便宜,在服饰等类目里面这些流量我们都可以重点关注起来.还可以通过这样的流量数据单独做个站外计划测试数据.
2.2 投放类型
经常会有掌柜问到:我看到直通车里面有成交,但在关键词里面又没有看到,是怎么回事?没错,你在关键词里面看到没有成交不代表直通车没有成交,因为他有可能会隐藏在我们的定向里面.所以这个需要我们对自己账户的投放类型做一个诊断分析.看看自己的产品在定向流量这块是否能有好的数据产出.例如下图案例,我们可以看到定向的效果比关键词的效果还好,投入产出比高,平均点击费用也便宜.对,它就是这么傲骄!所以千万不要小瞧了定向.
2.3 投放设备
经常会听到很多掌柜说:我现在从来不投PC!PC已经过时了这样的言论.但其实PC到底有没有过时,有没有数据产出我们要根据实际的账户诊断才能得出最真实的答案. 我们可以通过数据发现,在PC端还是有非常好的数据体现的,尽管他的点击量相对移动来说是比较少一点.但我们做推广的还有一个目的就是为了成交,所以PC端的成交和投产相对都还可以.那么我们在这些计划里面就可以重点关注投放起来.甚至还可以单独建立一个PC计划,通过流量解析的数据分析,找到一些在PC端表现效果非常好的关键词放进去投放.
3. 推广单元
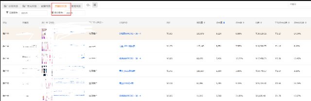
因为在很多类目里面,我们都是需要利用直通车来进行测款.因此我们可以通过推广单元来找到具体潜力的款进行重点推广.如下图我们会发现,第一个款是非常具有爆款的潜力的.第二个款虽然点击费用非常便宜,但是他的投产和点击转化率都非常低,只适合用来做一个低价引流款,而不适合做主推爆款.
4. 创意列表
通过创意列表,我们可以找到点击率高的创意图片.然后可以利用这些高点击率的图片提升我们产品和计划的点击率.通过以下数据我们会发现第三张创意图片的点击率是非常高的.可以达到10%左右,这样的创意图片我们是可以进行灵活扩展的.直通车一个非常核心的数据就是我们的点击率.因此点击率的高低不仅仅是代表着这张图片受买家的欢迎,还有可能代表着这个款是非常好的款,可以重点进行推广.再配上点击率高的图,相对来说就能以更便宜的价格拿到更多的流量.
5. 关键词列表
通过关键词列表,我们会发现第一和第五个关键词数据表现非常好,投入产出比高,点击转化率也非常高,这样的关键词我们可以把价格再出高点,让他在更好的位置上面体现他的优势.反观其他几个关键词的表现就比较差,可以把价格降低.或者再找一些扩展词进行替换.可以根据自己的需要进行优化和调整.
关键词列表可以下载最近七天的数据,建议大家经常下载进行保存.尤其是在有些类目里面,有些词是阶段性的,在某些阶段会有好的数据表现,有些阶段没有.我们把数据下载保存下来以后也可以做后续的一个推广参考.
6. 地域列表.
地域列表也是非常重要的一个账户诊断的数据.我们可以通过省份的成交量来进行调整和优化,从而达到我们想要的账户效果.通过这个账户我们会发现,同样广东这个省份,因为我们投放的产品不同,渠道不同,最终所产生的数据也是不一样的.所以我们可以通过每个计划里面城市的表现来调整.可以把一些计划里面差的省份去掉,把钱重点投放在能给我们带来效益的省份上面.省份的另外一个数据就是我们可以重点关注点击率,我们在前期的时候希望能提升计划的权重,这个时候更注重的是整体点击率的提升,点击率除了前面提到的在词和图上面的优化.接下来在我们的地域上面也是可以重点提升优化的.可以把计划里面点击率高的省份留下,把点击率过低的省份暂时不投放.从而来提升我们整体账户的点击率.带动质量得分的提升.
最后,大家在进行账户诊断时一定要清楚的知道自己的目标,是以投产比为目标,还是以流量或者成交点击率为目标,这样我们通过自己的账户数据诊断之后才能更有方向的进行调整和优化.希望大家通过诊断之后都能让直通车开得越来越好.越来越顺有钱赚.
账户诊断可以从多方面的数据来诊断我们的店铺在实际运营过程中出现的问题.今天就重点通过直通车的报表来进行账户的诊断数据分析.
1. 账户整体数据
我们通过直通车后台-报表-直通车报表首先可以看到我们账户的整体情况,在右侧可以选择时间段进行分析.可以了解到我们这段时间花了多少钱?引入了多少流量?点击率是多少?投入产出比是多少?总的购物车和总的收藏数等等.这些数据都是我们平常在直通车推广过程中非常重要的数据.
1.1 投入产出比
首先我们来分析诊断投入产出比的这个数据,因为这个数据是决定着你的直通车到底是盈利还是亏损状态的一个数据.大家也会纠结一个问题,就是我的投入产出比到底达到多少才是合适的?比如下面这个账户的数据,他的投入产出比的数据是3.24,这个数据到底是好还是不好.接下来我们就来分析一下,首先我们的直通车是一个付费流量工具,这个工具当然不能保证每个人都能实现盈利,但自己心里要清楚一个平衡点在哪里是最合适的.这个平衡点我们可以用我们的毛利率来计算.比如下图这个账户的大部分产品的毛利是50%左右,
投入产出比的平衡点公式=1/毛利率=1/50%=2
也就是我们的盈亏平衡点是2,那么目前下面的报表数据显示投入产出比是高于2的.这说明了我们的直通车账户并不亏,在这种情况下我们可以按照自己的预算放心的投放直通车推广.如果投入产出比低于盈亏平衡点.那么我们就需要再做进一步的调整.还需要根据自己的目的来进行调整和优化.
通过时间趋势图我们可以看到,当我们的流量在加大的时候,投入产出比有可能反而会往下滑,这在很多店铺里面会出现这样的情况,因为我们需要大流量时投入产出比的数据可能没有以前好,但店铺总体的销售额可能会增加.所以看到这样的趋势不用过于担心.要结合整体数据来观察.
2.1流量来源
推广计划的流量来源渠道选项,我们可以清楚的知道计划的流量来源,通过数据我们可以发现在现有的这个计划里面,站外跟站内都有非常多流量,站外流量虽然投产比低了一点,但是胜在它的平均点击费用很便宜,在服饰等类目里面这些流量我们都可以重点关注起来.还可以通过这样的流量数据单独做个站外计划测试数据.
经常会有掌柜问到:我看到直通车里面有成交,但在关键词里面又没有看到,是怎么回事?没错,你在关键词里面看到没有成交不代表直通车没有成交,因为他有可能会隐藏在我们的定向里面.所以这个需要我们对自己账户的投放类型做一个诊断分析.看看自己的产品在定向流量这块是否能有好的数据产出.例如下图案例,我们可以看到定向的效果比关键词的效果还好,投入产出比高,平均点击费用也便宜.对,它就是这么傲骄!所以千万不要小瞧了定向.
经常会听到很多掌柜说:我现在从来不投PC!PC已经过时了这样的言论.但其实PC到底有没有过时,有没有数据产出我们要根据实际的账户诊断才能得出最真实的答案. 我们可以通过数据发现,在PC端还是有非常好的数据体现的,尽管他的点击量相对移动来说是比较少一点.但我们做推广的还有一个目的就是为了成交,所以PC端的成交和投产相对都还可以.那么我们在这些计划里面就可以重点关注投放起来.甚至还可以单独建立一个PC计划,通过流量解析的数据分析,找到一些在PC端表现效果非常好的关键词放进去投放.
因为在很多类目里面,我们都是需要利用直通车来进行测款.因此我们可以通过推广单元来找到具体潜力的款进行重点推广.如下图我们会发现,第一个款是非常具有爆款的潜力的.第二个款虽然点击费用非常便宜,但是他的投产和点击转化率都非常低,只适合用来做一个低价引流款,而不适合做主推爆款.
通过创意列表,我们可以找到点击率高的创意图片.然后可以利用这些高点击率的图片提升我们产品和计划的点击率.通过以下数据我们会发现第三张创意图片的点击率是非常高的.可以达到10%左右,这样的创意图片我们是可以进行灵活扩展的.直通车一个非常核心的数据就是我们的点击率.因此点击率的高低不仅仅是代表着这张图片受买家的欢迎,还有可能代表着这个款是非常好的款,可以重点进行推广.再配上点击率高的图,相对来说就能以更便宜的价格拿到更多的流量.
通过关键词列表,我们会发现第一和第五个关键词数据表现非常好,投入产出比高,点击转化率也非常高,这样的关键词我们可以把价格再出高点,让他在更好的位置上面体现他的优势.反观其他几个关键词的表现就比较差,可以把价格降低.或者再找一些扩展词进行替换.可以根据自己的需要进行优化和调整.
地域列表也是非常重要的一个账户诊断的数据.我们可以通过省份的成交量来进行调整和优化,从而达到我们想要的账户效果.通过这个账户我们会发现,同样广东这个省份,因为我们投放的产品不同,渠道不同,最终所产生的数据也是不一样的.所以我们可以通过每个计划里面城市的表现来调整.可以把一些计划里面差的省份去掉,把钱重点投放在能给我们带来效益的省份上面.省份的另外一个数据就是我们可以重点关注点击率,我们在前期的时候希望能提升计划的权重,这个时候更注重的是整体点击率的提升,点击率除了前面提到的在词和图上面的优化.接下来在我们的地域上面也是可以重点提升优化的.可以把计划里面点击率高的省份留下,把点击率过低的省份暂时不投放.从而来提升我们整体账户的点击率.带动质量得分的提升.
最后,大家在进行账户诊断时一定要清楚的知道自己的目标,是以投产比为目标,还是以流量或者成交点击率为目标,这样我们通过自己的账户数据诊断之后才能更有方向的进行调整和优化.希望大家通过诊断之后都能让直通车开得越来越好.越来越顺有钱赚.
[ 标签:直通车运营 ]
相关文章
- 全部评论(0)
说点什么吧








视频



